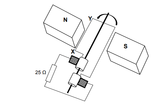
‘n Vereenvoudigde diagram van ‘n WS-generator wat aan ‘n 25 Ω-resistor verbind is, word hieronder getoon. Die spoel roteer antikloksgewys.

9.1 Noem die komponent wat hierdie generator van ‘n GS-generator onderskei. (1)
9.2 In watter rigting sal die geïnduseerde stroom in deel XY van die spoel vloei?
Kies uit X na Y OF Y na X. (2)
Die grafiek hieronder toon die uitsetspanning (uitsetpotensiaalverskil) van die generator vir een rotasiesiklus van die spoel.

9.3 Definieer die term wgk-potensiaalverskil. (2)
9.4 Bereken die wgk-stroom in die stroombaan. (4)
9.5 Bereken die gemiddelde drywing wat in die 25 Ω-resistor verbruik word. (3)
Die rotasiespoed van die spoel in die generator word nou VERDUBBEL.
9.6 Teken die assestelsel hieronder in jou ANTWOORDEBOEK oor en skets die grafiek van uitsetspanning (uitsetpotensiaalverskil) teenoor tyd vir 0,1 s.
